Nhắc đến gia công cơ khí thì chúng ta sẽ nghĩ ngay các lại các loại tool cắt gọt và cán dao là một phần không thể thiếu trong đó. Để đáp ứng nhu cầu sản xuất ngày càng tăng các loại dao cụ ngày càng được cải tiến với nhiều mẫu mã hơn. Và sau đây CNC Ánh Kim xin giới thiệu đến các bạn các loại cán dao đang thịnh hành hiện nay cùng tham khảo nhé
1. Cán dao tiện ngoài
Đây là loại cán dao được dùng nhiều trong gia công tiện, cán dao tiện ngoài thường có 2 loại: Dao tiện ngoài đầu thẳng và dao tiện ngoài đầu cong. Như hình bên dưới:


2. Cán dao móc lỗ
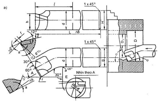
Loại thứ 2 phải kể đến đó là cán dao móc lỗ, cán dao móc lỗ là dùng để tiện các chi tiết bên trong
Dao tiện lổ có hai dạng: dao tiện lỗ thông (hình 5.2a) và dao tiện lỗ không thông (hình 5.2b).


3. Cán dao tiện mặt phẳng đầu
Tiếp theo là cán dao tiện chuyên dùng để tiện mặt phẳng đầu, loại cán dao này có thể chế tạo với góc φ = 90°


4. Cán dao tiện đứt và tiện rãnh
Dao tiện này được dùng để cắt rãnh hoặc cắt đứt trên các mặt trụ ngoài.


5. Dao tiện ren
Dao tiện ren được cấu tạo gồm hai bộ phận chính đó là thân hay còn gọi là cán dao, đầu gao và lưỡi dao.
+ Cán dao: Thiết kế phần cán dao dùng để kẹp giữ dao trên ổ gá dao.
+ Đầu dao: Được thiết kế gồm mặt thoát (mặt trước) và mặt sát (mặt sau). Trong quá trình cắt gọt phôi sẽ thoát ra ở mặt trước. Còn mặt sau chính và phụ sẽ đối diện với mặt gia công.
+ Lưỡi dao: Có hai loại. Một là lưỡi dao cắt chính ở giao tuyến giữa mặt sau chính và mặt trước của dao. Hai là lưỡi cắt phụ ở giao tuyến giữa mặt sau phụ và mặt trước.
Khi gia công sản phẩm, muốn đảm bảo được độ chính xác về kích thước, hình dáng, độ nhẵn bóng cũng như năng suất thì đòi hỏi phải lựa chọn hình dáng, các góc và dạng mặt trước của dao sao cho phù hợp. Nếu như chưa có kinh nghiệm người dùng nên tham khảo ý kiến của các chuyên gia, nhân viên tư vấn bán hàng trước khi đưa ra quyết định.

6. Dao tiện định hình
Dao tiện định hình được dùng để gia công các bề mặt định hình tròn xoay trong sản xuất hàng loạt, hàng khối trên các máy tiện tự động, bán tự động.

Ưu điểm của gia công bằng dao tiện
– Đảm bảo độ đồng nhất prôfin chi tiết trong quá trình gia công vì không phụ thuộc vào tay nghề công nhân mà chỉ phụ thuộc vào độ chính xác khi thiết kế và chế tạo dao tiện định hình.
– Năng suất gia công cao vì giảm được thời gian máy và thời gian phụ.
– Tuổi thọ lớn vì mài sắc được nhiều lần.
Đó là những loại cán dao thông dụng hiện nay, để lựa chọn sản phẩm phù hợp với nhu cầu gia công thì các bạn cần quan tâm đến những vấn đề khác như thông số kỹ thuật, vật liệu cần gia công,..Thì ngoài kinh nghiệm sẵn có thì việc tự tìm hiểu thông tin lẫn tư vấn từ cửa hàng, người bán là một trong những “trợ thủ” đắc lực giúp bạn dễ dàng lựa chọn được sản phẩm tốt nhất.
CNC Ánh Kim có cung cấp các loại cán dao cho nghành cơ khí chính xác, nếu các bạn có nhu cầu về sản phẩm hãy liên hệ với chúng tôi để đươc hỗ trợ nhanh chóng nhé.
>>> Xem thêm các loại cán dao Echain
CNC ANH KIM TRADING & SERVICE COMPANY CO.LTS
1737/7/3/18, National Highway 1A, Quarter 2, Tan Thoi Hiep Ward, District 12, Ho Chi Minh City, Vietnam
Email: sales.anhkim@gmail.com
Hotline: 0909 935 769
Website: https://cncanhkim.com
Fanpage: fb.com/cncanhkim
 
			  

